| E30
Fahrwerksgrundlagen / Optimierung |
Im nachfolgenden Artikel werden die
Grundbegriffe aus der Fahrwerkstechnik erklärt und auf Optimierungsmöglichkeiten
durch Verwendung von Teilen aus anderen Modellreihen eingegangen.
| Arbeiten am Fahrwerk
sind Arbeiten an sicherheitstechnisch relevanten Komponenten des Fahrzeugs!
Dieser Artikel beschreibt Reparaturen welche nur durch Fachpersonal erfolgte
sollte! www.e30.de übernimmt keine
Haftung für eventuelle Folgeschäden. |
Einstelldaten (PDF) : 325i
M-Technic, M3 E30
|
Spur:
Die Spur beschreibt
die Längendifferenz, um die die beiden Räder einer Achse vorne
näher zusammen stehen als hinten. Sind die Räder vorne näher
zusammen, so spricht man von "Positiver Spur" (Vorspur), umgekehrt von
"Negativer Spur" oder auch "Nachspur". |
|
Sturz:
Beschreibt den
Winkel der Radebene zu einer im Aufstandspunkt des Rades errichteten Senkrechten
quer zur Fahrzeugslängsachse. |
|
Spreizung:
Ist der Winkel
zwischen der schräg gestellten Lenkachse und einer Senkrechten zur
Fahrbahn quer zur Fahrzeuglängsachse |
|
Nachlauf:
Der Nachlauf
entsteht durch eine Schrägstellung der Lenkdrehachse bzw. des Achsschenkelbolzens
in Richtung der Fahrzeuglängsachse gegenüber einer Senkrechten
zu Fahrbahn. Diese Größe ist nur für die gelenkte Achse
entscheidend. Fahrzeuge mit Heckantrieb haben immer positiven Nachlauf,
d.h. der obere Punkt der Lenkdrehachse liegt in Fahrzeuglängsachse
weiter hinten als der untere Punkt. Beim e36 werden diese beiden Punkte
gebildet durch: Das Radführungsgelenk im Querlenker unten und oben
durch das Domlager. Ein positiver Nachlauf ist maßgeblich für
einen guten Geradeauslauf und Spurtreue. |
|
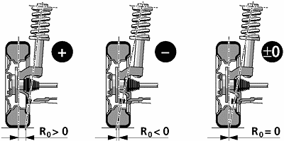
Lenkrollhalbmesser:
Spreizung und
Sturz bilden den Lenkrollhalbmesser. Dieses Maß ist nur für
die gelenkte Achse relevant. Er wird zwischen der Mitte der Radaufstandsfläche
und dem Durchstoßpunkt der verlängerten Lenkdrehachse durch
die Fahrbahn gemessen. Es gibt positiven, negativen und neutralen LRH.
Erstrebenswert ist immer ein negativer LRH. Dieser wird ermöglicht
durch tiefe Radschüsseln (hohe ET) und kompakte Bremsanlagen. Treten
einmal unterschiedliche Bremskräfte an beiden Rädern der gelenkten
Achse auf, so wird das Rad beim negativen LRH stärker durch auftretendes
Drehmoment nach innen geschwenkt. Dadurch entsteht ein selbstständiges
Gegenlenken, welches genau der Kraft entgegen wirkt, die das Fahrzeug zu
der Seite des stärker gebremsten Rades (z.B. Reifenplatzer) zieht.
Somit stabilisiert sich das Fahrzeug selbsttätig.
Werden Felgen
mit niedriger ET verbaut, so kann der Lenkrollhalbmesser neutral oder gar
positiv werden, was zur Folge hat, das das Fahrzeug noch stärker auf
die Seite zieht, auf die es z.B. durch ein blockierendes Rad gezwungen
wird. Auch im normalen Fahrbetrieb verliert so ein modifiziertes Fahrzeug
sehr viel an Spurtreue und neutralem Geradeauslauf. |
| Fahrwerksaufbau
E30 Vorderachse |
Kern der Vorderradaufhängung ist
das sogenannte Federbein, an dem das Rad direkt befestigt ist und das sich
gleichzeitig für Federung und Stoßdämpfung zuständig
fühlt. Ein elastisch aufgehängtes Domlager verbindet das Federbein
an der Oberkante mit der Karosserie. Unten ist es über den sogenannten
Querlenker gelenkig mit dem Vorderachsträger und der Karosserie verbunden.
Mit der Lenkung haben die Querlenker übrigens nichts zu schaffen -
ihren Namen bekamen sie vielmehr, weil an ihnen die Federbeine angelenkt
(sprich: gelenkig aufgehängt) sind und weil sie quer zur Fahrtrichtung
stehen.
An den beiden Querlenkern ist ferner
noch ein mehrfach gebogener Rundstab aus Federstahl befestigt -der sogenannte
Stabilisator. Der bewirkt folgendes: Wenn bei Kurvenfahrten das kurveninnere
Rad ausfedert, wird der Stabilisator in sich verwunden. Mit der so entstehenden
Federkraft wird nun die kurvenäußere Radaufhängung unterstützt
und somit deren Feder gewissermaßen verstärkt. Erfolg: Der Wagen
neigt sich beim Kurvenfahren wesentlich schwächer. Federt der Wagen,
beim Bremsen, vorn gleichmäßig ein, bleibt der Stabilisator
wirkungslos.
Der Querlenker
hat drei Gelenke. Mit zweien davon ist er am Fahrzeugaufbau befestigt,
mit einem am Federbein. Der Querlenker führt den Aufnahmepunkt des
Achsschenkels beim Aus- und Einfedern auf einer Kreisbahn um die Längsachse
des Fahrzeugs. Er muß Längs- und Querkräfte aufnehmen.
Das hintere Lager muß Kräfte in Fahrzeug-Querachse sowie Torsionskräfte
aufnehmen.
| Querlenkerlager
"A" im Detail |
Das Querlenkerlager
"A" gibt es in drei grundsätzlich verschiedenen Ausführungen:
|
|
Serie
alle E30 und E36 (auch Compact)
Sehr weiches
Lager. Bei starkem Verschleiß neigen die Vorderräder bei starken
Bremsungen zum "Rubbeln".
Komfortbedingt
kann der Querlenkerzapfen bei diesem Lagertyp auf der Querachse des Fahrzeugs
federn. Dies hat Radbewegungen der Vorderräder nach vorn und nach
hinten zur Folge. Die Lager sind auf den Nachlauf der Serienmodelle abgestimmt
und werden entsprechend durch die Gewichtskraft des Fahrzeugs belastet. |
|
|
M3
E30 und M3 E36 3.0
Das Lager ist
aus Vollmaterial. Es bietet damit weniger Komfort, ist aber haltbarer und
das Ansprechen der Vorachse wird präziser. Zudem ist die Aufnahme
für den Querlenkerzapfen zum Fahrzeugäußeren versetzt (exzentrisch).
Dadurch verlagert sich das Radführungsgelenk (Querlenkerlager �C�)
in Fahrzeugslängsachse nach vorne, der Nachlauf wird vergrößert
und der Radstand verlängert. Beides wirkt sich positiv auf die Spurtreue
aus. Die Lenkkräfte erhöhen sich dagegen. |
|
|
M3
E36 3.2
Das Lager ist
komplett aus Vollmaterial und bietet somit eine ähnliche Haltbarkeit
und Festigkeit, wie das exentrische Lagers des M3 E30. Wesentlich ist aber,
daß die Zapfenaufnahme hier wieder zentral mittig angebracht, so
daß die Achsgeometrie wieder der des Serienlagers entspricht. Somit
entfällt hier nach einem Umbau die Achsvermessung.
Ähnliche
Lager liess auch ALPINA und HARTGE für Ihre Fahrzeuge anfertigen. |
| Lagertausch:
Am Besten wird der Querlenker komplett
ausgebaut. Das ist zwar nicht zwingend notwendig, aber am komfortabelsten.
Die Position des Lagers muß auf dem Zapfen markiert werden (Abstand
zum Ende notieren)! |
| Da ein trocken abgezogenes
Lager nicht wieder verwendet werden darf, kann es ruhig bei der Demontage
zerstört werden. Da wahrscheinlich keine Abziehvorrichtung vorhanden
ist, wird der Gummikranz zerschnitten und dann der innere Metallring durchgesägt.
So löst sich der letzte "Lagerrest" vom Querlenkerzapfen. Das neue
Lager muß nun in den Lagerring eingepresst werden. Es wird fettfrei
(!) von der angeschrägten Seite eingepresst. Für diesen Vorgang
ist eine hydraulische Presse zwingend notwendig, mit einem Schraubstock
kann nicht genügend Kraft aufgewendet werden.
Auf die richtige Einbaulage (Markierung)
ist zu achten, besonders bei den exzentrischen Lagern (Pfeil zeigt zur
Fahrzeugmitte). Anschließend wird das Lager wieder auf den Querlenkerzapfen
aufgepresst. Hierfür müssen sowohl der Zapfen als auch der Lagerinnenring
fettfrei sein und mit einem "Terpentin-Ersatz" bestrichen werden.
Wichtig: Unmittelbar nach der
Montage kann das Lager auf dem Zapfen noch verdreht werden. Das Fahrzeug
muß dann schnellstens mit montiertem Querlenker in die Normallage
(= eingefedert) gebracht werden und darf dann mind. 30 Minuten nicht mehr
bewegt werden. Dann ist das Terpentin verdunstet und das Lager sitzt fest
auf dem Zapfen. Wird das Lager verdreht montiert und steht damit in Normallage
unter Spannung, wirkt sich das negativ auf das Fahrverhalten aus. Die Querlenkerlager
sind immer paarweise zu tauschen!
Beim Einbau des Querlenkers sollten
die beiden selbstsichernden Muttern für Mittellager und Radführungsgelenk
ersetzt werden. Die Schrauben des Querlenkerhalters brauchen nicht erneuert
zu werden. Anzugsmoment: 47Nm.
Bei Umbau auf exentrische Lager ist
eine Achsvermessung erforderlich, durch den höheren Nachlauf (Räder
weiter vorn) ist die Spur verstellt.
Satz E30 Lager Serie
Satz Lager M3 E30, M3 E36 3.0
Satz Lager M3 E36 3.2
Halter Querlenker links
Halter Querlenker rechts
Terpentin-Ersatz
|
31 12 9 058 931 (symmetrisch,
offener Gummi)
31 12 9 061 222 (exentrisch, Vollgummi)
31 12 9 069 035 (symmetrisch, Vollgummi)
31 12 1 139 789 (in der Regel wiederverwendbar)
31 12 1 139 790 (in der Regel wiederverwendbar)
81 22 9 407 284 (zur Montage erforderlich) |
|
| Querlenkerlager
"B" im Detail |
Dieses Lager ist wohl mit Abstand das
haltbarste und es gibt auch keine Alternativen. Wenn dieses Lager defekt
ist, ist ein kompletter Querlenkertausch notwendig.
| Selbstsichernde Mutter:
32 21 1 095 420 (90Nm) |
| Radführungsgelenk
"C" im Detail |
Das äußere
Traggelenk ist das große Sorgenkind der E30 und E36 Vorderachse.
Für den E36 gibt es das Lager einzeln bei BMW zu kaufen, für
E30 nur im Zubehörhandel. Das E36 Lager ist elastisch gummiumhüllt
im Querlenker gelagert. Somit neigen diese Ausführungen natürlich
eher zu Defekten, weil der Gummi schneller kaputt geht. Somit kann der
Rat an E36 Fahrer nur sein: E30 Querlenker verbauen. Hier ist das Lager
aus Metall und somit stabiler und langlebiger. Mittlerweile gibt es im
Zubehör auch für den E36 mit TÜV solche Vollmetalllager
zu kaufen (siehe
Ebay).
Ein defektes
Gelenk macht sich durch schwammiges Fahrverhalten bemerkbar. Das Fahrzeug
wirkt stark seitenwindempfindlich, läuft Spurrillen nach, wirkt unruhig
auf Fahrbahnmarkierungen und beim Bremsen gibt es Vibrationen in der Lenkung
(meist zwischen 60-120km/h, wird durch Unwucht in Rädern noch verstärkt).
Der Austausch
ist nicht ohne entsprechendes Spezialwerkzeug möglich, daher ist der
Gang in die Werkstatt nahezu unumgänglich.Gelenke immer achsweise
tauschen. Ein Vermessen der Spur ist nach der Reparatur NICHT erforderlich.
|
Radführungsgelenk
(E36)
Selbstsichernde
Mutter
|
31
12 6 758 510
32 21 1 095
267 (65Nm) |
|
| Unterschiedliche
Ausführungen Querlenker |
Was die wenigsten
(inkl. mir) bisher wussten, ist, daß es durchaus Unterschiede bei
der Ausführung der eigentlichen Querlenker gibt. (Die Biegerei für
den E36 5-Lochumbau könnte ein Ende haben :-), Details noch sind auszutesten...)
Abgesehen von den eigentlichen Maßen
sind zunächst die Radführungsgelenke
in den Querlenkern der M3 E36 Modelle anders aufgebaut und somit deutlich
haltbarer. Die Nachteile sind der höhere Preis für einen kompletten
Querlenker. Weiterhin können die Lager im Falle eines Defektes nicht
einzeln getauscht werden, da es direkt in den Querlenker eingearbeitet
ist. Diese Querlenker sind in ihrer Geometrie absolut identisch zu den
E30 Teilen und können verbaut werden, ohne daß sich Werte an
der Achseinstellung ändern. Ob dies wirklich sinnvoll ist, kann ich
aber nicht einschätzen.
Die Verwendung
der Alu-Querlenker vom E30 M3 ist aus unserer Sicht nicht nötig. Der
sehr hohe Preis rechtfertigt nicht die Reduzierung der ungefederten Masse
(Lieber mal auf das Gewicht der "Leicht"metallfelgen achten (Zitat E30-Schrauber)).
Eine interessante
Ausführung stellen die Querlenker des M3 E36 3.2 dar: Diese Querlenker
sind gegenüber den Serienteilen etwas weiter "aufgebogen", d.h. der
vordere Aufhängungspunkt ist weiter nach vorne verlagert. Somit kommt
das Rad ca. 1,5 cm weiter nach vorn. Dies hat BMW gemacht, damit beim M3
3.2 trotz wieder symmetrisch ausgeführter Querlenkerlager der Nachlauf
der gleiche ist wie beim (exzentrisch gelagerten) M3 3.0. Inwieweit diese
Querlenker sich für den Umbau auf E36 Fahrwerk beim E30 eignen, werde
ich zeitnah testen und berichten.
| Querlenker
E30 und M3 E30 LI |
31 12 1 127
725 |
| Querlenker
E30 und M3 E30 RE |
31 12 1 127
726 |
| Querlenker
M3 3.0 LI |
31 12 2 227
249 (haltbarer) |
| Querlenker
M3 3.0 RE |
31 12 2 227
250 (haltbarer) |
| Querlenker
M3 E30 LI |
31 12 1 130
823 (Alu) |
| Querlenker
M3 E30 RE |
31 12 1 130
824 (Alu) |
| Querlenker
M3 3.2 LI |
31 12 2 228
461 (Rad weiter vorn) |
| Querlenker
M3 3.2 RE |
31 12 2 228
462 (Rad weiter vorn) |
| Domlager
Vorderachse im Detail |
Alle E30 und
M3 E30 haben an der Vorderachse die gleichen Domlager. Es gibt weiterhin
ein spezielles Domlager zur Sturzkorrektur mit fest eingestelltee + oder
- 30 Minuten Verstellung. Die Domlager aus den E36 Modellen passen nicht
(ohne Änderungen) in den E30 Federdom.
|
|
Seriendomlager
316i - 325i, M3
Hier ist die
Aufnahme des Dämpfers mittig angeordnet. Der Nachlauf ist konstruktiv
festgelegt |
|
|
Sturzkorrektur-Domlager
E30:
Hier ist die
Aufnahme des Dämpfers exzentrisch angeordnet. Es gibt zwei feste Stellungen.
Die Dämpferaufnahme ist entweder weiter zur Fahrzeugmitte oder weiter
zur Fahrzeugaussenseite verlagert. |
| Serien - Domlager
316i - 325i M3 |
31 33 1 139
452 |
| Sturzkorrektur
Domlager |
31 33 1 139
484 |
| Fahrwerksaufbau
E30 Hinterachse |
Als Hinterachse dient beim E30 eine
klassische Schräglenker-Hinterachse. Die beiden Schräglenker
sind gelenkig mit dem quer zur Fahrtrichtung eingebauten Achsträger
verbunden. Federn und Stoßdämpfer sind getrennt eingebaut. Als
Feder wurde eine sogenannte Tonnen-Schraubenfeder verwendet, die bei geringer
Bauhöhe einen großen Federweg erlaubt (die einzelnen Federwindungen
legen sich beim Einfedern schneckenförmig ineinander). Die Schräglenker-Hinterachse
ist für ein sportliches Auto wie den Dreier BMW wie geschaffen. Die
Hinterräder werden sehr exakt geführt und erhalten - was die
Seitenführung in Kurven verbessert - beim Einfedern einen stärkeren
negativen Sturz. Beim Ausfedern verändert sich der Sturz dagegen nur
geringfügig.
Die grundsätzliche Hinterachskonstruktion
ist beim E30, E36 Compact und Z3 Roadster und Z3 Coupe (auch M-Modelle)
gleich, somit kann da fast alle Komponenten untereinander tauschen.
Es gibt eine
konstruktive Schwachstelle: Das Domlager (oberes Stützlager). Diese
Lager verbinden die Kolbenstange des Hinterachsdämpfers mit dem Fahrzeugaufbau.
Die Vulkanisierung
zwischen der Trägerplatte mit Verschraubung und der mittleren metallischen
Führung löst sich beim Serienteil relativ schnell. Poltern, klappern
oder Knarz- und Quietschgeräusche sind dann deutlich an der Hinterachse
wahrnehmbar.
Eine Optimierungsmöglichkeit
findet sich durch Verwendung der oberen Verstärkungsplatte des BMW
Z3 (siehe Foto). Weiterhin sollte das Domlager des M3 E36 oder des M3 E46
verwendet werden, da diese deutlich länger halten.
|
Stützlager
M3 3.0 u. M3 3.2
Stützlager
e46 M3/Cabrio
Versteifungsplatte
Z3
Papierdichtung
|
33
52 1 137 972
33 52
6 754 096
51 71
8 413 359
33 52
1 128 734 |
|
 |
Neben den Domlager
gehören die Tonnenlager zu den häufigsten Mängeln an der
E30 Hinterachse. Sie verbinden den querangeordnete Hinterachsträger
an den Außenseiten elastisch mit dem Fahrzeugaufbau.
Die Tonnenlager halten nach meiner
Einschätzung zwischen 50 und 100tkm. Der nicht ganz einfache Wechsel
ist unter DoitYourself beschrieben.
|
Die Unterlegscheibe ist beim M3 E30
etwas größer dimensioniert. Keine Ahnung ob die breitere Auflage
die Lebensdauer verbessert, schaden kanns nicht.
Unterlegscheibe M3 E30: 33 33 2 225
797
Als weitere Möglichkeit der Versteifung
können Gummiringe gelten, die man lose oben und unten am Tonnenlager
einsetzt und mit verschraubt. Dadurch wird die Bewegungsfreiheit des Lagers
weiter eingeschränkt, Lebensdauer und Fahrpräzision steigen.
 |
Das Differential
ist hinten am Deckel durch ein Gummilager elastisch mit dem Kofferraumboden
verbunden. Das Differentialdeckel der M-Modelle ist aus Vollgummi und damit
haltbarer und stabiler. Ein Austausch ist nur bei demontiertem Diffdeckel
möglich. Der Differentialdeckel des M-Roadsters besitzt übrigens
optisch sehr attraktive Kühllammellen, wer sich vom Preis nicht abschrecken
läßt, kann auch das montieren. Das Gummilager ist dann gleich
montiert. |
Gummilager (Z3 M): 33 17 2 228 425
Differentialdeckel mit Gummilager
(Z3 M): 33 17 2 228 335
Diese Anleitung wurde in Ihrer Grundform
vom "Hobbyschrauber" (zu finden im Forum von www.bmw-syndikat.de)
für die E36 Modellreihe verfaßt und von mir (mit Erlaubnis)
entsprechend der Anforderungen der E30 Seite ergänzt und umgeschrieben.
tino@e30.de
|